登录 注册
 找回密码
 立即注册
12下一页
返回列表

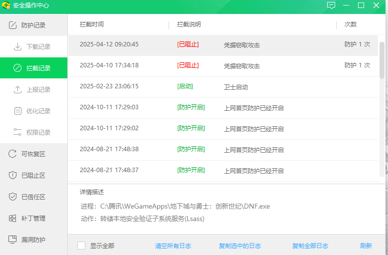
[召唤客服] DNF上游戏电脑提示有文件正在被窃取攻击

 楼主| 发表于 2025-4-12 09:40:33 | 显示全部楼层 |[复制链接]

登录可查看完整内容

您需要 登录 才可以下载或查看,没有帐号?立即注册

x
最近上游戏后右下角会提示有文件正在被窃取攻击,没下任何补丁,找了一圈没发现异常。
1111.png
 楼主| 发表于 2025-4-12 23:28:55 | 显示全部楼层 |[复制链接]
一上游戏就提示
S[6$9EH_LC30G$Y8)B5AA0W.png
已点赞 (0) 回复 使用道具 举报
发表于 2025-4-13 00:59:00 | 显示全部楼层 |[复制链接]
已点赞 (0) 回复 使用道具 举报
发表于 2025-4-15 23:22:17 | 显示全部楼层 |[复制链接]
已点赞 (0) 回复 使用道具 举报
 楼主| 发表于 2025-4-16 16:57:33 | 显示全部楼层 |[复制链接]

这提示让人有点膈应,就这次更新完后出现的。杀毒了没发现异常,还重装系统了还是有,是游戏本身的问题。
已点赞 (0) 回复 使用道具 举报
召唤数:0/2000
  • 2146

    浏览

  • 6

    评论

  • 0%

    为他点赞

热点速递
  • 热门
  • 活动
  • 攻略
您需要登录后才可以回帖 登录 | 立即注册
高级模式
快速回复 返回顶部 返回列表